- LED開路保護器的工作原理
- 各種元件的主要參數和特性
- NUD4700的工作原理
- NUD4700的主要參數
- SMD602主要參數與特性
近年來,采用1~3W大功率LED做的燈具逐年增加,其功率可從幾瓦到上百瓦。大功率LED燈具都采用LED串聯的結構,用恒流供電,其結構如圖1所示。一般1WLED的工作電流為250~350mA,3WLED的工作電流為600~700mA,電流大的可達900~1000mA。

圖1LED驅動電路
這種串聯LED的燈具有一個缺點,如果串聯的LED中有一個LED開路,則整個燈都不亮了。這對某些燈具(如警示燈、礦燈、應急燈等)的應用是十分危險的。為了防止LED開路時,LED燈還能亮,則采用LED開路保護器是十分有效的,它能保證燈具使用的安全性。
目前已開發出的1WLED開路保護器有兩種結構:齊納二極管型和晶閘管型(單向可控硅型),如圖2所示。有的LED生產廠家直接將齊納二極管與LED封裝在一起,即帶有開路保護的LED也已上市。3WLED的工作電流一般取值700~1000mA,這種開路保護器由于電流較大在市上還少見。

圖2兩種LED保護器件
本文將介紹安森美公司在2009年1月推出的新器件NUD4700及SMD公司在2008推出的SMD602,它們都是晶閘管型LED開路保護器。
[page]
NUD4700的工作原理
NUD4700是一種兩端器件,其外形如圖3所示,A端為陽極,C端為陰極。其內部結構如圖2的下圖所示,它由控制電路及單向晶閘管組成。

圖3NUD4700外形
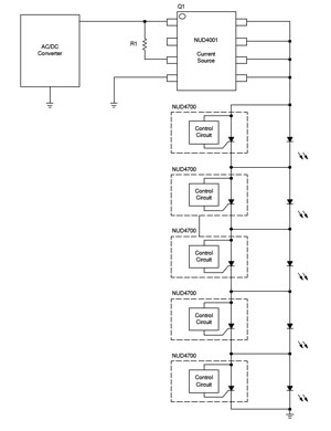
NUD4700的典型應用電路如圖4所示。這是一個交流供電,往AC/DC轉換器輸出直流電壓,再由NUD4701恒流LED驅動器驅動5個串聯的1W大功率LED的電路。NUD4700與LED并聯連接在一起。在LED未開路時,由于LED的正向降壓VF小于晶閘管的“開啟”電壓V(BR),則NUD4700為“關閉狀態”。在關閉狀態時,只有小于250μA的漏電電流經過NUD4700,相當于NUD4700“開路”,不影響LED的工作。若串聯的LED中有一個(如LED2)因損壞而開路了,此時與LED2并聯的NUD4700的A、C之間電壓超過了“啟動”電壓V(BR)(5.5~7.5V),NUD4700啟動,由關閉狀態轉為“導通狀態”。在導通狀態時,A、C之間導通電壓VT為1.0~1.2V。此時,LED的電流由LED1流經NUD4700的A、C,再流入LED3,如圖5所示。5個LED的燈僅有4個LED工作,其亮度稍差一些,但仍可以正常工作,并且不影響其恒流的大小。

圖4NUD4700應用電路

圖5NUD4700工作原理
從上面的分析可知:在LED正常時,器件不起作用(相當開路);在LED損壞開路時,它起作用(相當通路),使LED的電路能形成通路而工作。
NUD4700的主要參數
NUD4700的主要參數:峰值重復關閉狀態時電壓為-0.3~+10V;關閉狀態時的漏電流ILEAK為100~250μA;啟動電壓(也稱為“擊穿電壓”BreakdownVoltage)V(BR)為5.5~7.5V;保持電流IH為6~12mA;閉鎖電流(latchingCurrent)IL為35~70mA;導通狀態電壓VT為1~1.2V;導通狀態時的平均電流IT(AVG)為0.376~1.3A(電流大小與焊盤面積有關:在焊盤面積為25.4mm×25.4mm時,散熱條件好,IT可達1.3A);該器件為貼片式2mm×2.1mm封裝(高度為1mm);工作溫度范圍為-40~+85℃。
典型工作波形
NUD4700的典型工作波形如圖6所示。圖6中,綠色是LED電流波形,棕色是NUD4700關閉狀態轉換到導通狀態的波形。橢圓內是LED開路瞬間波形,此時,LED電流IF經一些波動后恢復到原來電流;與此同時,NUD4700由關閉狀態轉換到導通狀態,其電壓由VF下降到1~1.2V,其響應時間是很快的(dv/dt最小值為250V/μs)。

圖6NUD4700工作波形圖
SMD602的結構與工作原理
SMD602的內部結構如圖7所示,它的基本結構與NUD4700相同,但增加了一個反接的二極管,可在LED串極性接反時提供一個電流通路,由于二極管的正向壓降為1.1~1.5V,其可保護LED免受反壓擊穿(一般LED反壓擊穿電壓為5V)。

圖7SMD602內部結構[page]
SMD602的工作原理與NUD4700完全相同。它的正極與LED的陽極連接,負極與LED的陰極連接,如圖8所示。在LED沒有開路時,SMD602都為關閉狀態,其漏電流為100μA(典型值)。圖中橘黃色線為LED電流ILED。

圖8SMD602工作在LED導通狀態下
若在串聯的LED中有一個開路,如圖9所示,則與此并聯的SMD602的正、負極之間電壓大于其開啟電壓4.65~5.25V,此器件由關閉狀態轉換為導通狀態,降壓為1~1.2V。LED電流經SMD602內部的晶閘管后流到下一個LED,保證其他未開路的LED正常工作。圖中用紅線X表示此LED開路。

圖9SMD602工作在LED開路狀態下
若LED串與驅動器連接時極性接反,則有可能LED受反壓過大而損壞。由于SMD602內部有反接二極管,在LED串極性接反時,其內部的二極管極性是正確的,則LED的電流經SMD內部的二極管形成回路,LED得到保護,如圖10所示。

圖10SMD602工作在LED反接狀態下
SMD602主要參數與特性
SMD602的主要參數:輸入電壓VDC最大值為38V;導通狀態時最大電流IBP=500mA;反向電流IR最大值為500mA;啟動電壓V(BR)為4.65~5.25V,導通狀態時壓降VT為1~1.2V;在LED極性反接時,其壓差為1.1~1.5V;在關閉狀態時漏電流為100~150μA;維持電流IH最大值為20mA,工作溫度范圍-40~+85℃。

圖11SMD602的特性
SMD602有兩種封裝:2mm×2mmFBP封裝及3引腳SOT-89封裝,其引腳排列如圖12所示。

圖12SMD602的引腳排列
以上介紹的兩種LED開路保護器適用于1W大功率LED,其ILED電流為350mA。它們可以與LED一起安裝在六角形的鋁基板上。




