- 光電編碼器的工作原理
- 光電編碼器的應用電路
- 應用中問題分析及改進措施
- 利用PLC軟件監控或干涉
- 合理選擇光電檢測裝置輸出信號傳輸介質
光電編碼器的工作原理
光電編碼器,是一種通過光電轉換將輸出軸上的機械幾何位移量轉換成脈沖或數字量的傳感器。這是目前應用最多的傳感器,光電編碼器是由光柵盤和光電檢測裝置組成。光柵盤是在一定直徑的圓板上等分地開通若干個長方形孔。由于光電碼盤與電動機同軸,電動機旋轉時,光柵盤與電動機同速旋轉,經發光二極管等電子元件組成的檢測裝置檢測輸出若干脈沖信號,其原理示意圖如圖1所示;通過計算每秒光電編碼器輸出脈沖的個數就能反映當前電動機的轉速。此外,為判斷旋轉方向,碼盤還可提供相位相差90º的兩路脈沖信號。
根據檢測原理,編碼器可分為光學式、磁式、感應式和電容式。根據其刻度方法及信號輸出形式,可分為增量式、絕對式以及混合式三種。
1增量式編碼器
增量式編碼器是直接利用光電轉換原理輸出三組方波脈沖A、B和Z相;A、B兩組脈沖相位差90º,從而可方便地判斷出旋轉方向,而Z相為每轉一個脈沖,用于基準點定位。它的優點是原理構造簡單,機械平均壽命可在幾萬小時以上,抗干擾能力強,可靠性高,適合于長距離傳輸。其缺點是無法輸出軸轉動的絕對位置信息。

2絕對式編碼器
絕對編碼器是直接輸出數字量的傳感器,在它的圓形碼盤上沿徑向有若干同心碼道,每條道上由透光和不透光的扇形區相間組成,相鄰碼道的扇區數目是雙倍關系,碼盤上的碼道數就是它的二進制數碼的位數,在碼盤的一側是光源,另一側對應每一碼道有一光敏元件;當碼盤處于不同位置時,各光敏元件根據受光照與否轉換出相應的電平信號,形成二進制數。這種編碼器的特點是不要計數器,在轉軸的任意位置都可讀出一個固定的與位置相對應的數字碼。顯然,碼道越多,分辨率就越高,對于一個具有N位二進制分辨率的編碼器,其碼盤必須有N條碼道。目前國內已有16位的絕對編碼器產品。
絕對式編碼器是利用自然二進制或循環二進制(葛萊碼)方式進行光電轉換的。絕對式編碼器與增量式編碼器不同之處在于圓盤上透光、不透光的線條圖形,絕對編碼器可有若干編碼,根據讀出碼盤上的編碼,檢測絕對位置。編碼的設計可采用二進制碼、循環碼、二進制補碼等。它的特點是:
可以直接讀出角度坐標的絕對值;
沒有累積誤差;
電源切除后位置信息不會丟失。但是分辨率是由二進制的位數來決定的,也就是說精度取決于位數,目前有10位、14位等多種。
3混合式絕對值編碼器
混合式絕對值編碼器,它輸出兩組信息:一組信息用于檢測磁極位置,帶有絕對信息功能;另一組則完全同增量式編碼器的輸出信息。
光電編碼器是一種角度(角速度)檢測裝置,它將輸入給軸的角度量,利用光電轉換原理轉換成相應的電脈沖或數字量,具有體積小,精度高,工作可靠,接口數字化等優點。它廣泛應用于數控機床、回轉臺、伺服傳動、機器人、雷達、軍事目標測定等需要檢測角度的裝置和設備中。
光電編碼器的應用電路
1EPC-755A光電編碼器的應用
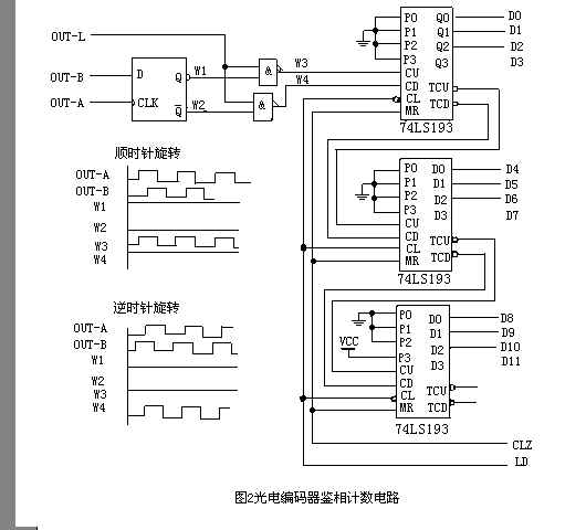
EPC-755A光電編碼器具備良好的使用性能,在角度測量、位移測量時抗干擾能力很強,并具有穩定可靠的輸出脈沖信號,且該脈沖信號經計數后可得到被測量的數字信號。因此,我們在研制汽車駕駛模擬器時,對方向盤旋轉角度的測量選用EPC-755A光電編碼器作為傳感器,其輸出電路選用集電極開路型,輸出分辨率選用360個脈沖/圈,考慮到汽車方向盤轉動是雙向的,既可順時針旋轉,也可逆時針旋轉,需要對編碼器的輸出信號鑒相后才能計數。圖2給出了光電編碼器實際使用的鑒相與雙向計數電路,鑒相電路用1個D觸發器和2個與非門組成,計數電路用3片74LS193組成。
[page]當光電編碼器順時針旋轉時,通道A輸出波形超前通道B輸出波形90°,D觸發器輸出Q(波形W1)為高電平,Q(波形W2)為低電平,上面與非門打開,計數脈沖通過(波形W3),送至雙向計數器74LS193的加脈沖輸入端CU,進行加法計數;此時,下面與非門關閉,其輸出為高電平(波形W4)。當光電編碼器逆時針旋轉時,通道A輸出波形比通道B輸出波形延遲90°,D觸發器輸出Q(波形W1)為低電平,Q(波形W2)為高電平,上面與非門關閉,其輸出為高電平(波形W3);此時,下面與非門打開,計數脈沖通過(波形W4),送至雙向計數器74LS193的減脈沖輸入端CD,進行減法計數。
汽車方向盤順時針和逆時針旋轉時,其最大旋轉角度均為兩圈半,選用分辨率為360個脈沖/圈的編碼器,其最大輸出脈沖數為900個;實際使用的計數電路用3片74LS193組成,在系統上電初始化時,先對其進行復位(CLR信號),再將其初值設為800H,即2048(LD信號);如此,當方向盤順時針旋轉時,計數電路的輸出范圍為2048~2948,當方向盤逆時針旋轉時,計數電路的輸出范圍為2048~1148;計數電路的數據輸出D0~D11送至數據處理電路。
實際使用時,方向盤頻繁地進行順時針和逆時針轉動,由于存在量化誤差,工作較長一段時間后,方向盤回中時計數電路輸出可能不是2048,而是有幾個字的偏差;為解決這一問題,我們增加了一個方向盤回中檢測電路,系統工作后,數據處理電路在模擬器處于非操作狀態時,系統檢測回中檢測電路,若方向盤處于回中狀態,而計數電路的數據輸出不是2048,可對計數電路進行復位,并重新設置初值。
2光電編碼器在重力測量儀中的應用
采用旋轉式光電編碼器,把它的轉軸與重力測量儀中補償旋鈕軸相連。重力測量儀中補償旋鈕的角位移量轉化為某種電信號量;旋轉式光電編碼器分兩種,絕對編碼器和增量編碼器。
增量編碼器是以脈沖形式輸出的傳感器,其碼盤比絕對編碼器碼盤要簡單得多且分辨率更高。一般只需要三條碼道,這里的碼道實際上已不具有絕對編碼器碼道的意義,而是產生計數脈沖。它的碼盤的外道和中間道有數目相同均勻分布的透光和不透光的扇形區(光柵),但是兩道扇區相互錯開半個區。
當碼盤轉動時,它的輸出信號是相位差為90°的A相和B相脈沖信號以及只有一條透光狹縫的第三碼道所產生的脈沖信號(它作為碼盤的基準位置,給計數系統提供一個初始的零位信號)。從A,B兩個輸出信號的相位關系(超前或滯后)可判斷旋轉的方向。由圖3(a)可見,當碼盤正轉時,A道脈沖波形比B道超前π/2,而反轉時,A道脈沖比B道滯后π/2。圖3(b)是一實際電路,用A道整形波的下沿觸發單穩態產生的正脈沖與B道整形波相‘與’,當碼盤正轉時只有正向口脈沖輸出,反之,只有逆向口脈沖輸出。
因此,增量編碼器是根據輸出脈沖源和脈沖計數來確定碼盤的轉動方向和相對角位移量。通常,若編碼器有N個(碼道)輸出信號,其相位差為π/N,可計數脈沖為2N倍光柵數,現在N=2。圖3電路的缺點是有時會產生誤記脈沖造成誤差,這種情況出現在當某一道信號處于‘高’或‘低’電平狀態,而另一道信號正處于‘高’和‘低’之間的往返變化狀態,此時碼盤雖然未產生位移,但是會產生單方向的輸出脈沖。例如,碼盤發生抖動或手動對準位置時(下面可以看到,在重力儀測量時就會有這種情況)。

[page]

圖4是一個既能防止誤脈沖又能提高分辨率的四倍頻細分電路。在這里,采用了有記憶功能的D型觸發器和時鐘發生電路。由圖4可見,每一道有兩個D觸發器串接,這樣,在時鐘脈沖的間隔中,兩個Q端(如對應B道的74LS175的第2、7引腳)保持前兩個時鐘期的輸入狀態,若兩者相同,則表示時鐘間隔中無變化;否則,可以根據兩者關系判斷出它的變化方向,從而產生‘正向’或‘反向’輸出脈沖。當某道由于振動在‘高’、‘低’間往復變化時,將交替產生‘正向’和‘反向’脈沖,這在對兩個計數器取代數和時就可消除它們的影響(下面儀器的讀數也將涉及這點)。
由此可見,時鐘發生器的頻率應大于振動頻率的可能最大值。由圖4還可看出,在原一個脈沖信號的周期內,得到了四個計數脈沖。例如,原每圈脈沖數為1000的編碼器可產生4倍頻的脈沖數是4000個,其分辨率為0.09°。實際上,目前這類傳感器產品都將光敏元件輸出信號的放大整形等電路與傳感檢測元件封裝在一起,所以只要加上細分與計數電路就可以組成一個角位移測量系統(74159是4-16譯碼器)。
應用中問題分析及改進措施
1應用中問題分析
光電檢測裝置的發射和接收裝置都安裝在生產現場,在使用中暴露出許多缺陷,其有內在因素也有外在因素,主要表現在以下幾個方面:
發射裝置或接受裝置因機械震動等原因而引起的移位或偏移,導致接收裝置不能可靠的接收到光信號,而不能產生電信號。例如;光電編碼器應用在軋鋼調速系統中,因光電編碼器是直接用螺栓固定在電動機的外殼上,光電編碼器的軸通過較硬的彈簧片和電動機轉軸相連接,因電動機所帶負載是沖擊性負載,當軋機過鋼時會引起電動機轉軸和外殼的振動。經測定;過鋼時光電編碼器振動速度為2.6mm/s,這樣的振動速度會損壞光電編碼器的內部功能。造成誤發脈沖,從而導致控制系統不穩定或誤動作,導致事故發生。
因光電檢測裝置安裝在生產現場,受生產現場環境因素影響導致光電檢測裝置不能可靠的工作。如安裝部位溫度高、濕度大,導致光電檢測裝置內部的電子元件特性改變或損壞。例如在連鑄機送引錠跟蹤系統,由于光電檢測裝置安裝的位置靠近鑄坯,環境溫度高而導致光電檢測裝置誤發出信號或損壞,而引發生產或人身事故。
生產現場的各種電磁干擾源,對光電檢測裝置產生的干擾,導致光電檢測裝置輸出波形發生畸變失真,使系統誤動或引發生產事故。例如;光電檢測裝置安裝在生產設備本體,其信號經電纜傳輸至控制系統的距離一般在20—100米,傳輸電纜雖然一般都選用多芯屏蔽電纜,但由于電纜的導線電阻及線間電容的影響再加上和其它電纜同在一起敷設,極易受到各種電磁干擾的影響,因此引起波形失真,從而使反饋到調速系統的信號與實際值的偏差,而導致系統精度下降。
2改進措施
改變光電編碼器的安裝方式。光電編碼器不在安裝在電動機外殼上,而是在電動機的基礎上制作一固定支架來獨立安裝光電編碼器,光電編碼器軸與電動機軸中心必須處于同一水平高度,兩軸采用軟橡膠或尼龍軟管相連接,以減輕電動機沖擊負載對光電編碼器的機械沖擊。采用此方式后經測振儀檢測,其振動速度降至1.2mm/s。
合理選擇光電檢測裝置輸出信號傳輸介質,采用雙絞屏蔽電纜取代普通屏蔽電纜。雙絞屏蔽電纜具有兩個重要的技術特性,一是對電纜受到的電磁干擾具有較強的防護能力,因為空間電磁場在線上產生的干擾電流可以互相抵消。雙絞屏蔽電纜的另一個技術特點是互絞后兩線間距很小,兩線對干擾線路的距離基本相等,兩線對屏蔽網的分布電容也基本相同,這對抑制共模干擾效果更加明顯。
利用PLC軟件監控或干涉。在連鑄生產的送引錠過程要求光電檢測裝置產生有時序性的電信號,同時,該信號與整個過程不同階段相對應。如圖5

①送引錠過程啟動前,光電信號1為“1”。
②送引錠過程啟動后,在A階段,輥道啟動,引錠桿上送。當引錠桿擋住光電裝置發射出的紅外光時,光電信號為“0”;當紅外光透過引錠桿中部2個小圓孔時,光電裝置發出信號2和3,均為“1”。
③送引錠過程在B階段,光電信號為“0”,輥道停下,引錠桿暫停上送,扇形10段壓下,啟動拉矯機和“同步1”,引錠桿繼續上送。
④送引錠過程在C階段,引錠桿上送,并不再擋住紅外光,光電信號4為“1”,啟動“同步2”,停下“同步1”,引錠桿繼續上送。至此光電裝置工作過程結束。
根據光檢測電裝置的工作過程,只要現場測定送引錠過程中各個光電信號發生的時間,結合送引錠過程與光電信號的關系,利用PLC應用程序中的相關數據,編制符合要求的PLC程序,將PLC程序輸出信號輸入至PLC的輸入模塊,替代原光電信號的輸入信號。其程序框圖如圖6所示。

光電檢測裝置本身是由電子元器件構成,它對安裝環境有一定的技術要求,特別是在較惡劣環境下使用,要采取相應的保護措施,以使光電檢測裝置工作在其產品要求的技術條件下,才能發揮裝置的技術性能。否則光電檢測裝置的使用壽命及其工作的可靠性都將受到不同程度的影響。結合光電檢測裝置在生產過程控制中的應用實踐,在控制系統設計中;不宜采用光電檢測裝置的信號作為重要的控制信號,以避免光電裝置突然損壞或工作不穩定(環境高溫、濕度大、機械振動、外力碰創等)引起其它設備事故。在控制系統中應用PLC程序實適進行過程控制的監控或干涉,以克服了因系統中采用光電裝置而存在的各種缺陷,是提高系統可靠性的有效途徑。






