【導讀】電源模塊以高集成度、高可靠性、簡化設計等多重優勢,受到許多工程師的青睞。但即便使用相同的電源模塊,不同的用法也會導致系統的可靠性大相徑庭。使用不當,非但不能發揮模塊的優勢,還可能降低系統可靠性。
相信各位電路設計者在閱讀DC-DC隔離電源模塊的數據手冊時,第一時間關注的往往是首頁的電源參數,如功率、輸入電壓、輸出電壓、效率、工作溫度、耐壓等級等……但其實在實際應用中,數據手冊中的“電路設計與應用”一節內容同樣重要,它為用戶在實際外圍電路設計過程中提供了寶貴的參考電路經驗。如果電源模塊的外圍電路設計使用不當,非但不能發揮模塊的優勢,還可能降低系統可靠性,本次我們就來談談一些電源模塊外圍電路設計核心要點。
1.兩級浪涌防護電路,使用不當適得其反
電源模塊體積小,在EMC要求比較高的場合,需要增加額外的浪涌防護電路,以提升系統EMC性能。如圖1所示,為提高輸入級的浪涌防護能力,在外圍增加了壓敏電阻和TVS管。但圖中的電路(a)、(b)原目的是想實現兩級防護,但可能適得其反。如果(a)中MOV2的壓敏電壓和通流能力比MOV1低,在強干擾場合,MOV2可能無法承受浪涌沖擊而提前損壞,導致整個系統癱瘓。同樣的,電路(b),由于TVS響應速度比MOV快,往往是MOV未起作用,而TVS過早損壞。

圖1.兩級浪涌防護
增加一個電感,構成兩級防護電路。如電路(c)、(d)所示,串入一個電感,將防護器件分隔成兩級,對高頻浪涌脈沖,電感具有較大的阻抗,因此首先起作用的是前端的壓敏電阻,而后端的壓敏和TVS能夠進一步吸收殘壓保護模塊。另外,即使是單級防護,增加電感也能起到一定的作用,避免浪涌電壓直接加到模塊輸入端。
2.輸出濾波電容過大,導致模塊異常
電源模塊輸出端通常推薦增加一定的濾波電容,但在使用過程中,由于認識不足等原因,使用了過大的輸出濾波電容,既增加了成本又降低了系統的穩定性。

圖2.容性負載過大
如圖2中的電路(a)所示,一個3W的模塊,輸出使用了2000uF的電容,而通過查閱產品手冊了解到,模塊建議最大輸出電容為800uF。輸出電容過大可能導致啟動不良,而對于不帶短路保護的微功率DC-DC模塊,輸出電容過大甚至可能導致模塊永久損壞。
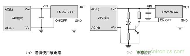
3.接開關電源芯片,注意啟動不良
如圖3所示,電源模塊的輸出電壓是逐漸建立的,電路(a)的LM2576沒有設計欠壓鎖定,在VIN電壓較低時即開始啟動,若OUT負載過重,可能被24V模塊誤判為短路或容性負載過大,從而導致啟動不良。

圖3.增加欠壓鎖定
因此推薦使用電路(b),外置簡單的欠壓鎖定,使24V模塊輸出電壓建立到預置值后再啟動LM2576等外接開關電源芯片,可以很大程度上避免啟動不良問題。
或者可以使用功率余量更大的電源模塊, ON/OFF引腳也可以連接到MCU進行控制。
4.雙路模塊,注意負載平衡
對于雙路輸出模塊,兩路輸出對負載的要求不同,這類模塊通常只對其中一路進行穩壓反饋,另一路通過變壓器耦合達到所需的電壓。
當穩壓主路負載過重輔路過輕時,輔路電壓會飄高較多,此時輔路對電壓要求嚴格時,需增加三端穩壓器。而當非穩壓輔路負載過重主路過輕時,可能出現輸出電壓不穩定或者輔路電壓過低的情況,此時需給主路增加假負載。
5.并聯與冗余,不是一回事
當手頭有兩個相同的模塊,而單個的功率不足時,很自然的想到兩個模塊并聯使用,以滿足功率要求,但將普通電源模塊并聯使用提升功率的方法存在極大隱患,輸出電壓偏高的模塊需提供過大的電流而導致模塊過功率。

圖4.冗余應用
如上圖電路(a)所示,負載需5W功率,超出單個模塊的帶載能力,則其中一個模塊可能存在超負荷使用的情況。對于此種應用,需使用單個大于5W功率的模塊,比如ZY0JGB12P-10W。而電路(b)則不然,每個模塊的功率均能滿足負載的需要,此時屬于冗余設計。
6.鉭電容雖好,放在電源輸入輸出需謹慎
鉭二氧化錳電容比較容易擊穿短路,抗浪涌能力差,開機時或外部供電接入時,很可能形成較大的浪涌電流或電壓,造成鉭電容的燒毀短路或過壓擊穿,在未做嚴格評估的情況下,建議使用陶瓷電容或電解電容。




