- 閉環霍爾電流傳感器在車用電源系統中的應用
- 閉環霍爾傳感器的工作原理
- 通過反饋控制電源系統的輸出電流
- 電源系統的保護
1 引言
地面車用電源系統(以下簡稱電源系統)輸出電流的檢測與控制,直接關系著電源系統工作的穩定性和可靠性,并影響車輛的運行狀況及車輛的可操作性。由于車輛復雜的使用條件導致車用電源的負載變化較大,隨之電源的輸出功率也將發生較大變化,若對電源的輸出電流不加限制,會造成電源因過載而發熱,影響其功率輸出,嚴重情況下會導致電源永久失效。
閉環霍爾電流傳感器(以下簡稱傳感器)在車用電源系統中的應用,實現了對電源系統輸出電流的隔離測量,并通過反饋控制電源系統的輸出電流。當電源的輸出電流接近電源系統的設計功率輸出時,電源輸出電流將不再增加,從而限制了電源系統的輸出功率,保護了電源系統不會因用電負載的變化而損壞。
2 閉環霍爾傳感器的工作原理
自1879年美國物理學家Edwin Herbert Hall發現霍爾效應以來,霍爾技術被越來越多地應用于工業控制的各個領域。隨著元器件工藝技術的發展,由霍爾器件應用開發的霍爾電流、電壓傳感器的性能也有了很大提高,特別是閉環霍爾電流、電壓傳感器的研制成功,大大地擴展了該項技術的應用領域。
2.1 霍爾效應及霍爾器件
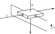
霍爾效應是霍爾技術應用的理論基礎,當通有小電流的半導體薄片置于磁場中時(如圖1),半導體內的載流子受洛倫茲力的作用發生偏轉,使半導體兩側產生電勢差,該電勢差即為霍爾電壓VH,VH與磁感應強度B及控制電流IC成正比,經過理論推算有式(1)關系。
VH=(RH/d)×B×IC(1)
式中:B為磁感應強度;IC為控制電流;RH為霍爾系數;d為半導體厚度。
式(1)中,若保持控制電流IC不變,在一定條件下,可通過測量霍爾電壓推算出磁感應強度的大小,由此建立了磁場與電壓信號的聯系。根據這一關系式,人們研制出了用于測量磁場的半導體器件,即霍爾器件。
圖1 霍爾效應原理

2.2 閉環霍爾電流傳感器的工作原理
閉環霍爾電流傳感器是利用霍爾器件為核心敏感元件用于隔離檢測電流的模塊化產品,它的工作原理是霍爾磁平衡式(或稱霍爾磁補償式、霍爾零磁通式)。眾所周知,當電流流過一根導線時,將在導線周圍產生磁場,磁場的大小與流過導線的電流大小成正比,這一磁場可以通過軟磁材料來聚集,然后用霍爾器件進行檢測,由于磁場的變化與霍爾器件的輸出電壓信號有良好的線形關系,因此,可利用霍爾器件測得的輸出信號,直接反映出導線中的電流大小,即
I∝B∝VH(2)
式中:I為通過導線的電流;B為導線通電流后產生的磁感應強度。
當選擇適當的比例系數后,上述關系可以表示為等式。
[page]
對于霍爾輸出電壓信號VH的處理,人們設計了許多種電路,但總體來講可分為兩類,一類為開環(或稱直測式、直檢式)霍爾電流傳感器;另一類為閉環(或稱零磁通式、磁平衡式)霍爾電流傳感器。
針對霍爾傳感器的電路形式而言,人們最容易想到的是將霍爾器件的輸出電壓用運算放大器直接進行信號放大,得到所需要的信號電壓,由此電壓值來標定原邊被測電流大小,這種形式的霍爾傳感器通常稱為開環霍爾電流傳感器。開環霍爾傳感器的優點是電路形式簡單,成本相對較低;其缺點是其精度、線性度較差,響應時間較慢,溫度漂移較大。為了克服開環傳感器的不足,上世紀80年代末期,國外出現了閉環霍爾電流傳感器。1989年,北京七○一廠引進國外技術在國內率先開展閉環霍爾電流傳感器的研制和生產。經過十幾年的努力,這種傳感器在國內逐漸為廣大用戶了解和應用。
閉環霍爾電流傳感器的工作原理是磁平衡式的(如圖2),即原邊電流(IN)所產生的磁場,通過一個副邊線圈的電流(IM)所產生的磁場進行補償,使霍爾器件始終處于檢測零磁通的工作狀態。當原副邊補償電流產生的磁場在磁芯中達到平衡時,即
N1×IN=N2×IM(3)
式中:N1為原邊線圈的匝數;N2為副邊線圈的匝數。
由式(3)可以看出,當已知傳感器原邊和副邊線圈匝數時,通過測量副邊補償電流IM的大小,即可推算出原邊電流IN的值,從而實現了原邊電流的隔離測量。
圖2 閉環霍爾電流傳感器的工作原理

3 閉環霍爾電流傳感器的主要性能
閉環霍爾電流傳感器是近10年來出現的高技術模塊化產品,其性能大大優于開環霍爾電流傳感器,同時與傳統的分流器或互感器的電流測量方法相比亦有許多優點。閉環霍爾電流傳感器主要有以下特點:
1)可以同時測量任意波形電流,如:直流、交流、脈沖電流;
2)副邊測量電流與原邊被測電流之間完全電氣隔離,絕緣電壓一般為2kV~12kV;
3)電流測量范圍寬,可測量額定1mA~50kA電流;
4)跟蹤速度di/dt>50A/μs;
5)線性度優于0.1%IN;
6)響應時間<1μs;
7)頻率響應0~100kHz。
[page]
4 傳感器在車用電源系統中的應用
閉環霍爾電流傳感器的應用范圍很廣,目前已成功地應用于逆變焊機,發電及輸變電設備,電氣傳動,數控機床等工業產品上。表1以額定電流為300A的CHB-300S型霍爾電流傳感器為例,說明這種傳感器的應用。
表1 CHB-300S型霍爾傳感器的主要性能參數

在某型地面車輛上裝備了一套獨立的大功率發電系統,該發電系統設計選用了CHB-300S型閉環霍爾電流傳感器作為系統電流檢測部件,通過對傳感器的輸出信號進行處理,設定限流工作點,確保發電系統的輸出功率不高于發電機的額定功率。閉環霍爾電流傳感器CHB-300S的應用,很好地實現了上述應用目的。如圖3所示,發電機G輸出正端匯流母線穿過CHB-300S/SP1的原邊電流穿孔,由傳感器CHB-300S/SP1檢測發電機的輸出電流,傳感器的輸出IM與發電機控制盒相連,由發電機控制盒設定發電機的輸出電流控制點,依據此信號,對發電機的輸出電流加以限制,避免發電機因輸出功率過高而發生故障或損壞,從而保證發電系統正常工作。
圖3 CHB-300S傳感器的應用

5 結語
該傳感器能夠滿足車用發電系統對電流檢測的技術要求,已在多套地面車輛的發電系統中應用,并按相關標準進行了實驗測試,測試結果受到專家的肯定。





