變壓器的鐵芯材料的磁滯損耗和渦流損耗大小是決定變壓器的鐵芯材料技術性能好壞的最重要因素。因此,對變壓器的鐵芯材料進行磁滯回線測量是必要的,通過測試變壓器鐵芯的磁滯回線,很容易就可以看出變壓器的鐵芯材料的主要電氣性能。
現代電子設備對電源的工作效率和體積以及安全要求越來越高,在開關電源中決定工作效率和體積以及安全要求的諸多因素,基本上都與開關變壓器有關,而與開關變壓器技術性能相關最大的要算是變壓器的鐵芯材料。變壓器的鐵芯材料的磁滯損耗和渦流損耗大小是決定變壓器的鐵芯材料技術性能好壞的最重要因素。因此,對變壓器的鐵芯材料進行磁滯回線測量是必要的。
變壓器的鐵芯一般都選用鐵磁材料,鐵磁材料除了具有高的磁導率外,另一重要的磁性特點就是鐵磁材料在磁化過程中,磁通密度B與磁場強度H相差一個相位,這個特性稱為磁滯現象。
因此,當變壓器的鐵芯被交變磁場磁化時,變壓器的鐵芯的磁化曲線也稱磁滯回線。磁滯回線是介質內部磁場強度H和磁通密度B的關系曲線,通過測試變壓器鐵芯的磁滯回線,很容易就可以看出變壓器的鐵芯材料的主要電氣性能。
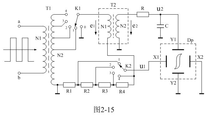
要對鐵磁材料的磁滯回線的參數進行嚴格測試是比較麻煩的,不過用示波器顯示磁滯回線則比較簡便。圖2-15是用示波器測量變壓器鐵芯磁滯回線的原理圖。
在圖2-15中,變壓器T1為信號源,通過K1選擇變壓器T1次級線圈的抽頭就可以改變信號源的電壓輸出;T2為待測變壓器樣品,Dp為示波器;R1、R2、R3、R4為顯示磁場強度H的取樣電阻,取樣電壓u1作為示波器X軸偏轉顯示輸入電壓,通過K2可以選擇取樣電壓輸出,從而可以改變示波器X軸偏轉顯示的寬度;電阻R和電容C為積分電路,積分電壓u2由電容C兩端輸出,作為示波器Y軸偏轉顯示輸入電壓,以顯示磁通密度B。


[page]
(2-34)式表明:在圖2-15中,任一時刻取樣電壓u1均與磁場強度H成正比,因此,電壓u1可以作為示波器X軸輸入電壓,用示波器的水平方向來顯示磁場強度H。
我們再來看怎樣對磁通密度B進行顯示。根據法拉第電磁感應定律,在交變磁場的作用下,變壓器T2次級線圈中感應產生的電動勢e2大小為:


由(2-35)和(2-36)式可以看出,感應電動勢是磁通密度對時間的微分,那么磁通密度就應該是感應電動勢對時間的積分。因此,對磁通密度B進行顯示必須由一個積分電路組成。在圖2-15中,RC電路正好有這種積分特性。
從原理上來說,只有RC積分電路輸出電壓的特性與磁場強度取樣電路輸出電壓的特性(速率)基本一致的時候,磁滯回線的顯示失真才會最小。那么u1電壓的變化特性與u2電壓的變化特性是否基本一致呢?為了簡單和便于分析,這里我們把輸入電壓看成是交流脈沖方波,但對于正弦波電壓還是同樣有效。

(2-38)式中,e1為加到變壓器T2初級線圈兩端的電壓(這里為方波),或T1變壓器次級線圈輸出的電壓(方波);L1為變壓器T2初級線圈的電感,i1(0)為時間等于零時變壓器T2初級線圈中的勵磁電流。
實際上,這里的i1(0)要與積分電路中電容器C,在同樣時刻對應的充電電壓u2(0),所對應的磁通密度B(0),互相對應才有意義,因為它們之間存在相位差。
由(2-38)式可以看出,如果忽略取樣電阻R1兩端的電壓降u1,流過變壓器T2初級線圈的勵磁電流是一個線性電流,即:取樣電阻R1的輸出電壓u1為鋸齒波,正好與示波器X軸的掃描電壓相對應。

(2-39)式中,i2為流過電阻R的電流,或電容器的充電電流,u2為電容C兩端電壓。與分析變壓器初級線圈中的勵磁電流一樣,如果把積分電路的時間常數取得足夠大,電阻的阻值也取得足夠大,則在一個周期內電容兩端的充電電壓u2相對電阻的電壓降是可以忽略的。則(2-39)式可以改寫為:
[page]

(2-43)式中,B(0)為時間等于零時T2變壓器鐵芯中的磁通密度。同樣,B(0)要與同一時間(即時間等于零時)變壓器T2初級線圈中的勵磁電流i1(0)互相對應才有意義。實際上i1(0)與B(0)的值不可能同時為0,如果i1(0)和B(0)同時為0,示波器所顯示的圖形將是一條斜線(即理想磁化曲線)。
由(2-43)式可以看出,磁通密度B的確是與積分電容C兩端的電壓u2成正比;也就是說,磁滯回線可以用u1和u2分別代表磁場強度H和磁通密度B通過示波器來進行顯示。
另外,由(2-40)、(2-42)式可以看出,如果忽略積分電容C兩端的電壓降u2,則對電容C充電的電流基本上可以看成是恒流,即:積分電容C兩端的電壓u2為鋸齒波,正好與磁場強度取樣電路輸出電壓u1的變化特性(速率)基本達成一致。
如果在分析過程中,取樣電阻R1兩端的電壓降u1和積分電容C兩端的電壓降u2都不能忽略;那么,取樣電阻R1兩端的電壓降u1和積分電容C兩端的電壓u2也可以通過解一元二次微分方程來求得。
實際上用微分方程求解電感、電容的充放電過程,在第一章的內容中已經有過很詳細的分析,這里不準備再重復。實際上,電壓通過電阻對電感進行充電的過程,與電流通過電阻對電容充電的過程,是非常相似的,兩者都是按指數方式上升,只不過前者變化的參量是電流,后者變化的參量是電壓。只要兩者的時間常數基本一致,它們的變化曲率也將基本一致。
因此,用u1和u2分別代表磁場強度H和磁通密度B在示波器上進行磁滯回線顯示失真是很小的。電壓通過電阻對電感進行充電的時間常數τ=RL,電流通過電阻對電容進行充電的時間常數τ=RC。
在圖2-15中,開關K1是用來選擇輸入電壓幅度的,當K1選擇“1”的位置時,輸入電壓的幅度比較小,被測試樣品的磁滯回線面積也比較小;當K1選擇“4”的位置時,輸入電壓的幅度比較大,被測試樣品的磁滯回線面積也比較大。
圖2-16是測試樣品在輸入不同幅度的電壓時,對應不同磁滯回線的顯示圖。圖2-16中,最外一條磁滯回線是對應開關K1選擇“4”的位置時,所顯示的磁滯回線圖形;而最內一條磁滯回線是對應開關K1選擇“1”的位置時,所顯示的磁滯回線圖形。開關K2是用來選擇顯示圖形水平寬度用的,變壓器鐵芯中的磁場強度以及磁通密度的大小,與開關K2選擇的位置無關。
當K2選擇“1”的位置時,顯示圖形的水平寬度最窄;當K2選擇“4”的位置時,顯示圖形的水平寬度最寬。另外,圖2-16中的o-a初始磁化曲線,在實際測量中是很難看得到的,因為它只能出現一次,不會重復出現。
從圖2-16可以看出,當變壓器鐵芯中不存在磁化場時,H和B均為零,即圖2-16中B~H曲線的坐標原點0。隨著磁場強度H的增加,磁通密度B也隨之增加,但兩者之間不是線性關系。當H增加到一定值時,B不再增加(或增加十分緩慢),這說明該變壓器鐵芯的磁化已接近飽和狀態。一般人們都把Hm和Bm分別稱為最大磁場強度和最大磁通密度(對應于圖中a點);而把Hs和Bs分別稱為飽和磁場強度和磁通密度。
[page]
如果再使磁場強度H逐漸退到零,則與此同時B也逐漸減少。然而H和B對應的曲線軌跡并不沿原曲線軌跡a-0返回,而是沿另一曲線下降到Br,這說明當H下降為零時,鐵磁物質中仍保留一定的磁性,這種現象稱為磁滯,Br稱為剩磁。將磁場反向,再逐漸增加其強度,直到H=-Hc,磁通密度消失,這說明要消除剩磁,必須施加反向磁場Hc。Hc稱為磁矯頑力。
磁矯頑力的大小反映鐵磁材料保持剩磁狀態的能力。圖2-16表明,當磁場按Hm→0→-Hc→-Hm→0→Hc→Hm次序變化時,B所經歷的相應變化為Bm→Br→0→-Bm→-Br→0→Bm。于是得到一條閉合的B~H曲線,稱為磁滯回線。所以,當鐵磁材料處于交變磁場中時(如變壓器中的鐵芯),它將沿磁滯回線反復被磁化→去磁→反向磁化→反向去磁,這個過程周而復始。
在此過程中要消耗額外的能量,并以熱的形式從鐵磁材料中釋放,這種損耗稱為磁滯損耗。前面已經證明,磁滯損耗與磁滯回線所圍面積成正比。
不同的磁場強度對應的最大磁通密度Bm和剩磁Br,以及磁矯頑力Hc的大小都是不一樣的,因此,不通過測試比較,很難定義某種鐵磁材料各種參數的好壞。
(圖2-15)電路還可以用來對變壓器鐵芯或鐵磁材料進行退磁。方法是先把開關K1打到“4”的位置上,讓變壓器鐵芯先進行充磁,然后,把開關K1由“4”位置逐個打到“3、2、1、0”的位置,最后磁場強度將為0,剩余磁通密度Br也基本為0。
由于輸入電壓是交流電壓,因此退磁起點的相位是隨機的。圖2-17變壓器鐵芯或鐵磁材料退磁時的路線圖,在圖2-17中是假設磁通密度和磁場強度都是從最大值(即a點)開始的。
順便指出,用于測試磁滯回線的變壓器鐵芯樣品最好是磁環,因為,普通的E型變壓器鐵芯多少會存在氣隙;一般氣隙的磁阻是鐵磁材料磁阻的上萬倍,因此,哪怕氣隙的長度只有總磁路長度的萬分之一,其對測試結果的影響也是非常大的。
另外,圖2-15所示的測試電路不能用于對單激式變壓器鐵芯的磁化曲線進行測試,因為,輸入電壓為雙極脈沖電壓。如要對單激式變壓器鐵芯的磁化曲線進行測試,可在K1的電壓輸出端接一個整流二極管。

對單激式變壓器鐵芯的磁化曲線進行測試,在應用上是沒有多大意義的,因為磁化曲線的面積相對雙激式變壓器鐵芯的磁化曲線的面積非常小,因此,對單激式變壓器鐵芯的磁化曲線進行測試,倒不如用對雙激式變壓器鐵芯的磁化曲線進行測試來代替。







