【導讀】繼電器什么情況下會發生過載?在開關系統中,短路或者開路狀態,存在的額外電流或者電壓,這樣繼電器才會出現過載現象。如果繼電器超出了最大承載電流或者熱切換功率,會大大增加繼電器焊接在一起的風險。那么如何運用數字I/O保護繼電器呢?
所有的繼電器都有一個最大的承載電流和熱切換功率,如果超出了這個范圍,會增加繼電器焊接在一起的風險,從而引起無法釋放,或者是釋放時間過長的情況。
原因是在電源這部分有存在著電容性的器件,可能會釋放大電流,從而產生熱量使得連接部分融化,等到冷卻之后就有可能連接在一起。
增加額外的限流器可以減少這部分的問題,但是需要清楚的是在電源部分增加限流器也是無法避免電容性的電流的影響,并且,由于限流器是接入到電源控制系統中的,在工作的時候需要一定的時間來響應,就達不到想要的結果。
像一些模塊卡,像40-411,40-412和40-413就可以用來減少焊接故障的發生,特別是在接入故障的測試目標的時候。為了解釋以上的數字IO模塊可以減少了這方面的損壞,下面就以故障注入模塊作為例子來說明一下。
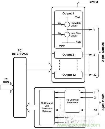
2.數字I/O模塊
40-411,40-412和40-413的輸出端就帶有限流器的驅動,這些驅動使用的是MOSFET輸出,并且包括可以讓電流順利通過的限流器。在驅動進入到限流模式之后,電壓電壓降會穿過MOSFET,這個電壓降會讓MOSFET變熱。這個驅動同樣也包含了一個可以通過保護電流啦將MOSFET關閉的溫度傳感器。當MOSFET冷卻之后,它又可以重新開始工作了。這個強大的裝置可以保護器件免于受損害--之后持續的高電壓才會將器件燒壞。這個溫度傳感器和限流器是非常靠近MOSFET的,所以響應時間是非常的短的,這樣可以有效地保護了MOSFET。
在包含了拉電流和灌電流驅動的數字I/O卡中,這兩個驅動都是可以關閉的,或者是將某一個驅動連接到電源或者是接地。
在高電平被應用的地方,應該注意的是它包含了一個偏置二極管,在開關打開的時候,就意味著將會有一個電壓電壓降穿過驅動,這個就出現了比預想中更加高的阻抗。

3.故障注入模塊
Pickering的故障注入模塊是用于仿真模擬對于安全性的要求比較高的系統中常見的故障類型。它們可以用來模擬開路短路的故障,和一些常見的與其他的信號線或者是電源/地線之間的短路。但是在選擇的時候,需要看具體的應用,因為有一些應用中需要的切換電流或者是電壓有比較高的要求,特別是一些比較特殊的應用,這就需要從元器件層面去做必要的權衡。下圖是Pickering的故障注入模塊的圖示:

4.模塊組合-故障注入模塊與數字I/O模塊
為了將電源和地線連接到路徑中,用戶可以用數字I/O模塊來實現,并且還可以為開關提供限流保護。可以使用數字I/O模塊來將故障注入的切換變換為冷切換,冷切換對于開關的壽命的沒有太大的影響。
故障注入的經典的結構圖如上面的圖示所示,這里面已經集成了多種可能的故障信號源的接口,有一個或者是多個故障信號源可以是電源(電池)或者是地線。當使用數字I/O卡來進行中間部分的連接后,就可以起到一個限流的作用。
如果數字I/O模塊40-411只提供與地線之間的聯系,那么它只能驅動一個激勵信號源。如果信號方向是顛倒的,那么40-411將會把信號壓縮到在比地線低0.6V,因為輸出存在著二極管。40-411是帶有1A的灌電流的,它將會把信號限制在1.5A和+3.5V,如果是低電壓,那么將會有一個高電流,最壞的情況是在1.5V的時候有3.5A的電流。
40-412模塊將會提供允許連接外部地線或者是電源線的驅動,唯一的要求是連接一條故障線來提供這樣的功能。在低電平的驅動的情況下(連接到地線),電流一般也是限制在1A的,最壞的情況是在1.5V的時候還帶著1.5A的電流。在高電平的驅動的情況下,電流大約會在1A,但是需要注意的是電壓降會比低電平驅動的時候更大。
40-413數字I/O模塊與40-412的功能是差不多一樣的,但是在高電流的情況下,低電平的驅動一般是在7A的電流,還有在高電平的情況下,是3.5A的電流。這種設計不適合于2A電流的應用中,但是可以用于需要大電流的故障注入應用中。
在很多情況下,可以通過并行排布多于1個通道的數字I/O模塊來提高對更大電流的限制的能力。
不管在什么情況下,用戶都可以通過數字I/O模塊卡來切換信號,而不用再通過開關來操作。在數字I/O模塊關閉與地線或者是激勵源之間的連接之前,就可以關閉故障注入卡上的開關。這樣就意味著可以大大地提高開關的使用壽命,原因在于將開關的熱切換轉化為了冷切換。
任何情況下,用戶都必須保證數字I/O的電壓不能超過標稱的電壓。
5.其他應用
在實際應用上,數字I/O不只可用于故障注入模塊中,也可以用在其他的有連接到地線或者電源線的開關模塊中。
相關閱讀:
這款固態繼電器,具有過零開關功能?
優秀博客分享:設計驅動繼電器電路要注意啥?
百科全書大講壇:細說SSR固態繼電器的二三事



